Língua : português

português

 Automatic Battery Pack Assembly Line For ESS

Série 7 de Processos de Montagem de Baterias - Fluxo de Processo de Fabricação e Montagem de Recipientes de Armazenamento de Energia

June 06 , 2025
Processo de montagem de bateria Série 7 - Fluxo do processo de fabricação e montagem de contêineres de armazenamento de energia


Seja para veículos de nova energia ou cenários de armazenamento de energia, a função principal da bateria é armazenar energia. "Se a bateria for comparada a um soldado no exército , então o recipiente de armazenamento de energia pode ser considerado um exército bem equipado e coordenado".


A estrutura de composição do contêiner de armazenamento de energia é complexa, incluindo principalmente as seguintes partes principais: contêiner, conjunto de baterias, sistema elétrico, sistema de proteção contra incêndio, sistema de monitoramento de comunicação, sistema de gerenciamento térmico, sistema auxiliar (ar condicionado, iluminação, etc.).

Composition structure of energy storage container



Esta edição apresentará em detalhes a estrutura e o processo de fabricação de contêineres de armazenamento de energia.


01 Cabine de Bateria Online
Após a instalação da cabine da bateria, geralmente é necessário verificar sua aparência, tamanho e nível de proteção de acordo com os requisitos dos desenhos de projeto para garantir que a resistência, a resistência à corrosão e a vedação da cabine atendam aos requisitos de qualidade do produto. Atualmente, as especificações de contêineres utilizadas para grandes produtos de armazenamento são geralmente de 6 e 12 metros. As dimensões específicas podem ser consultadas da seguinte forma.

Specification of energy storage container

Nota: 9'6 "=2896 mm, 8'6"=2591 mm, 8 '=2438 mm


O rack de baterias é usado para instalar e fixar o conjunto de baterias e geralmente é soldado com aço. O rack de baterias precisa atender a requisitos de resistência mais elevados. O peso de um único conjunto de baterias 1P104S pode chegar a mais de 600 kg. Para aumentar a densidade de energia, uma fileira de racks de baterias geralmente precisa acomodar quase 10 conjuntos de baterias.

02 Instalação de Sistema de Proteção contra Incêndio

Em comparação com os conjuntos de baterias de energia, os conjuntos de baterias de armazenamento de energia têm requisitos mais altos de desempenho de segurança, portanto, um sistema de proteção contra incêndio também é adicionado para garantir sua segurança durante o serviço.

Sistema de proteção contra incêndio : sensor de fumaça, sensor de temperatura, dispositivo de extinção de incêndio, etc. Quando condições anormais, como incêndio, são detectadas, o dispositivo de extinção de incêndio pode ser iniciado automaticamente para executar operações de extinção de incêndio para evitar a propagação do fogo e garantir a operação segura do sistema de armazenamento de energia.

O conteúdo da instalação do sistema de proteção contra incêndio inclui principalmente: tubos de imersão de nível PACK, válvulas solenoides (válvulas de perfuração), alarmes sonoros e luminosos, perfluorohexanona (ou heptafluoropropano), sistemas de sprinklers de incêndio, etc.

03 Instalação do Sistema de Gestão Térmica

A primeira geração de produtos de armazenamento de grande porte é composta principalmente recipientes de armazenamento de energia refrigerados a ar (tipo walk-in, ou seja, o pessoal de manutenção pode entrar na cabine para inspeção). As vantagens do resfriamento a ar são estrutura simples, fácil instalação e baixo custo, mas a eficiência de resfriamento não é alta e é difícil atender aos requisitos de dissipação de calor do sistema de armazenamento de energia.
Basic Layout Diagram Of Container Energy Storage
Os atuais produtos de armazenamento de grande porte de segunda geração são basicamente equipados com um sistema de resfriamento líquido , o que não apenas melhora a eficiência de dissipação de calor da bateria e a consistência da temperatura do núcleo da bateria, mas também melhora muito a densidade de energia do produto.

O sistema de resfriamento líquido inclui principalmente: máquina de resfriamento líquido, tubo de resfriamento líquido, válvula, placa de resfriamento líquido (integrada na caixa da bateria).

Processo de instalação: Geralmente, a máquina de resfriamento a líquido e a tubulação principal de resfriamento a líquido são instaladas primeiro e, em seguida, as tubulações de segundo e terceiro níveis são instaladas. Após a instalação da tubulação, é realizado um teste de estanqueidade (<150 Pa). Após a integração de toda a cabine da bateria, é necessário adicionar o líquido de arrefecimento.

Inclui também a instalação de condicionadores de ar e ventiladores (para melhorar a eficiência do sistema de refrigeração líquida e reduzir a probabilidade de condensação de água no interior).

04 Instalação do Sistema Elétrico

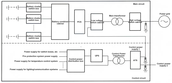
A arquitetura do sistema elétrico do produto de armazenamento de energia da bateria é mostrada na figura abaixo, que geralmente é dividida no circuito principal e no circuito de controle.

Circuito principal : incluindo circuito CC, PCS e interface conectada à rede CA. O lado CC é geralmente conectado diretamente por cabos CC do conjunto de baterias à caixa de alta tensão e, em seguida, à caixa de junção, com os dispositivos de proteção e comutação necessários. O compartimento da bateria e o compartimento elétrico são separados por uma porta de aço à prova de fogo.

Com o aumento da capacidade do compartimento da bateria, o PCS geralmente é disposto separadamente ou integrado a outros equipamentos, como transformadores e armários de distribuição, em um compartimento pré-fabricado.

Circuito de controle : principalmente para alimentar os equipamentos do compartimento. Geralmente, BMS ( Sistema de gerenciamento de bateria ), controladores locais, sistemas de proteção contra incêndio, etc. precisam ser alimentados por UPS (fonte de alimentação ininterrupta) para garantir o funcionamento normal em caso de falhas inesperadas.


Electrical system architecture of energy storage system


Processo de instalação:
  1. Instalação do chicote elétrico do conjunto de baterias até a caixa de alta tensão
  2. Instalação de chicote elétrico da caixa de alta tensão até a caixa de junção
  3. Instalação de caixa de junção
  4. Instalação de tela de exibição BMS, interruptor de parada de emergência, luz indicadora, etc.
  5. Instalação de transformador
  6. Instalação de fiação do sistema elétrico, conexão de fiação da caixa de junção

05 Instalação do sistema de bateria

Conjunto de baterias no compartimento: geralmente inserido no rack de baterias por uma empilhadeira. Devido ao espaço muito limitado, apenas trabalhadores qualificados podem realizar este trabalho. No futuro, com o amadurecimento gradual da automação do processo de montagem de contêineres de armazenamento de energia, este trabalho poderá ser substituído por equipamentos automatizados.

Fluxo do processo de instalação:
  1. Pacote de bateria na cabine
  2. Instalação de caixa de alta tensão
  3. Conexão da bateria
  4. Instalação e conexão de tubos de resfriamento de líquido de segundo/terceiro nível
  5. Conexão de tubo de combate a incêndio por imersão em água PACK
  6. Conexão do chicote da válvula solenóide

Container energy storage system


06 Teste de Desempenho Elétrico

Detecção pré-ligação:
  1. Detecção de confiabilidade de aterramento : Utilize um testador de resistência de aterramento para verificar a confiabilidade do aterramento da bateria, da caixa de alta tensão e do conjunto de baterias. Geralmente, aplica-se uma corrente de 10 A e o valor da resistência de aterramento deve ser ≤ 0,1 Ω.
  2. Detecção de isolamento : Certifique-se da conexão entre o conjunto de baterias e a fonte de alimentação externa ou outro equipamento elétrico. Utilize um testador de resistência de isolamento para conectar os polos positivo e negativo e meça a resistência de isolamento do conjunto de baterias ao terra. Geralmente, ela deve ser maior ou igual a 20 MΩ.

Tensão suportável : Provoque um curto-circuito em todas as portas do circuito e aplique a tensão de teste correspondente ao aterramento (invólucro). O sistema não deve apresentar falhas nem arcos elétricos.

Tensão de impulso : A tensão suportável cumulativa nominal mínima do equipamento de manobra de baixa tensão e do circuito dentro do contêiner deve atender, no mínimo, aos requisitos do padrão nacional.

Teste de carga e descarga Geralmente, as duas cabines são testadas uma contra a outra. É necessário que a diferença de pressão dinâmica entre carga e descarga durante o teste seja inferior a um determinado valor, a temperatura máxima seja inferior a 40°C, a diferença de temperatura seja inferior a 5°C, o aumento de temperatura da superfície de conexão seja inferior a 50°C e a energia de descarga seja superior ao valor nominal de energia. Por fim, o SOC precisa ser ajustado para o valor de fábrica (geralmente 50%).

07 Teste de Vida
Teste de chuva : Use o equipamento para conduzir testes de campo em toda a cabine por no mínimo 3 minutos, e a cabine deve estar livre de vazamentos de água.

Identificação e inspeção de rótulos : Verifique o número da cabine da bateria, a placa de identificação, o sinal de advertência, o sinal do LOGOTIPO, o sinal de aterramento, o sinal de incêndio, o sinal de polaridade, etc. para garantir que estejam claros, corretos, rastreáveis e em conformidade com as especificações do desenho.

Inspeção da aparência do produto : Certifique-se de que a bateria não tenha deformações ou rachaduras, nem sujeira na parte externa, que a cor do revestimento da cabine seja consistente, que não haja bolhas ou derramamentos, que a estrutura de aterramento esteja fixa e confiável e que a válvula principal esteja fechada após a drenagem do tubo de resfriamento líquido.


A qualidade de fabricação de contêineres de armazenamento de energia depende muito de suporte de equipamento preciso e confiável - seja a consistência da produção de unidades de bateria, a precisão da montagem do módulo ou a integridade dos testes de todo o sistema da cabine, equipamentos especializados são necessários como suporte técnico.

Como inovador no campo de novos equipamentos de energia, Acey Nova Energia está profundamente envolvida em equipamentos de fabricação de baterias e tecnologia de equipamentos de teste há muitos anos, com negócios abrangendo toda a cadeia de soluções de equipamentos no setor de armazenamento de energia.


Materiais a montante: pasta de eletrodos equipamento de mistura de laboratório , máquina de revestimento de eletrodos , etc.

Fabricação de células: linha experimental completa de baterias tipo botão/cilíndrica/polímero (configuração semiautomática a totalmente automática, linha de montagem de baterias prismáticas caso).

Integração de sistemas:
Equipamento de montagem automatizada de baterias
▶ Multinível sistema de teste (plataforma de teste de desempenho elétrico/gerenciamento térmico/conexão de incêndio)
Câmara de teste de segurança ambiental (equipamentos para testes de abuso térmico, testes de baixa tensão em alta altitude, testes de simulação de vibração de impacto, etc.)

Deixe um recado
Deixe um recado
Se você está interessado em nossos produtos e deseja saber mais detalhes, por favor, deixe uma mensagem aqui, nós responderemos o mais breve possível.

Casa

Produtos

contato

whatsApp